• HOME
  • PRODUCTS
  • FAQ
  • GALLERY
  • CONTACT
  • DOWNLOAD
  • ADJUSTABLE SWAGE STUD SYSTEM-ADJUSTABLE SWAGE STUD SYSTEM (12)

    ADJUSTABLE SWAGE STUD SYSTEM
    ADJUSTABLE SWAGE STUD SYSTEM (12)

     


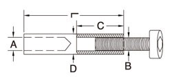
    ADJUSTABLE SWAGE STUD

    ITEM

    A (CABLE)

    B

    L

    C

    D

    AFTER SWAGE

    7815S-03

    1/8”

    1/4”-20

    3-1/2”

    1-1/2”

    0.31”

     0.215”

    7815S-05

    3/16”

    1/4”-20

    4”

    1-3/4”

    0.35”

    0.310”

    7815S-06*

    1/4”

    5/16”-18

    4-5/8”

    2”

    0.49”

    0.43”

    *USE 7/32” DIE TO SWAGE.


     

  • System message
  • Yes
  • System message
  • Yes No